Editor’s Note: This issue focuses on patents related to the upstream aluminum industry that were granted during the most recent months in the U.S. and China. It is important to include China, because the country has been the world’s largest patent filer (and producer) for years in the area of metals, by a significant margin. And in the area of aluminum in particular.1
Moving back to the U.S. aluminum industry, one of the most impactful issues the industry faced this past year were President Trump’s tariffs. One year ago, he reinstated a 25% tariff on all aluminum imports, then in June, he doubled the tariff to 50% for all trade partners but the United Kingdom.2
These led to a quick increase in pricing power for U.S. producers and improved margins, while downstream aluminum consumers took on higher costs, some of which were passed on to end-customers. The tariffs—and the uncertainty—have led to other consequences as well, such as greater strain on the supply chain. This has not changed. That said, a number of new investments were announced last year, so not all the news has been negative.
Due to China’s place in the industry as the world’s largest producer of aluminum, China does not impose tariffs on aluminum imports. In fact, China’s main issue is facing tariffs on its aluminum exports because its aluminum industry is affected far more by the trade barriers set by other countries, than by its own. Indeed, China shapes its aluminum industry through domestic policies, rather than through tariffs, such as setting limits on its energy-intensive primary aluminum production. This means having a “strict national ceiling of 45 million tons per year.”3
By the way, global primary aluminum production in 2025 topped 73 million metric tons last year. This was an increase of 1.1% compared to 2024, according to the International Aluminium Institute.4
References
1. Ortiz-Ospina, Esteban, “China is the largest contributor to global patent applications, substantially ahead of other countries,” Our World in Data, November 4, 2024, ourworldindata.org/data-insights/china-is-the-largest-contributor-to-global-patent-applications-substantially-ahead-of-other-countries.
2. “Fact Sheet: President Donald J. Trump Increases Section 232 Tariffs on Steel and Aluminum,” The White House, June 3, 2025, www.whitehouse.gov/fact-sheets/2025/06/fact-sheet-president-donald-j-trump-increases-section-232-tariffs-on-steel-and-aluminum.
3. Hidayat, Muflih, “China’s Aluminium Production Cap: Reshaping Global Markets in 2025,” Discovery Alert, discoveryalert.com.au/china-aluminum-production-2025-limits-market-impact.
4. “IAI: Global primary aluminum output exceeds 73 million t in 2025,” Mysteel, January 27, 2026, www.mysteel.net/news/5111608-iai-global-primary-aluminum-output-exceeds-73-million-t-in-2025.
— Kevin Widlic, Editor
US12515203B1 — Oxygen carrier compositions and alumina supports — King Fahd University of Petroleum and Minerals (Saudi Arabia) — The disclosure relates to chemical looping technologies for hydrogen production, and more particularly, pertains to oxygen carrier compositions including iron oxide and cerium oxide doped on alumina supports. Support materials play a role in thermal management and structural stabilization of the oxygen carrier. A support must possess high thermal conductivity and a high melting point to tolerate repeated redox cycling. Alumina is selected for high heat capacity and temperature tolerance. Surface modification of alumina with cerium oxide has been explored to improve redox kinetics and lower reduction onset temperatures.

US12491467B1 — Carbon capture systems and methods of use — Provocative Science Holdings Inc. (USA) — At a high level, aspects of the disclosure are directed to current systems and methods for carbon capture, which may may be inefficient due to the power requirements needed to blow air through a system. As a result, energy utilized by blowing air through a system may result in an increase in a production of carbon dioxide. In one or more embodiments of this disclosure, the heating component may include a heat transfer structure that also serves as a structural member contacting the external walls and taking the loads. The heat transfer structure may include any material that is thermally conductive, such as aluminum. Rails also may be composed of aluminum, as well as the exterior walls of the carbon capture chamber.

US12489197B1 — Systems and methods for satellite thermal management — Care Weather Technologies Inc. (USA) — The disclosure provides a thermal management system for a satellite. The system may include a plurality of photovoltaic cells configured to generate electrical power, an active array antenna including transmit-receive (T/R) modules with power amplifiers, a thermal core thermally coupled to the photovoltaic cells and antenna, and a phase-change material (PCM) element disposed within the thermal core and thermally coupled to the T/R modules. The thermal core may be configured to spread heat across the satellite. The satellite may include a multicore, which may alternatively be referred to as a thermal core. The multicore may be configured to stabilize thermal fluctuations by transferring heat between faces of the satellite, and in some aspects, it may comprise a solid aluminum chassis (222) with aluminum foam fill (224).

US12534782B2 — Process for manufacturing an aluminum alloy part — С-ТЕС Сonstellium Technology Center (France) — The technical field of the invention is a process for manufacturing an aluminum alloy part, using an additive manufacturing technique. The invention firstly relates to a process for manufacturing a part, including a formation of successive metal layers which are superimposed on each other, each layer being formed by depositing a filler metal, the filler metal being subjected to a supply of energy so as to become molten and to constitute, upon solidifying, said layer.
US12534786B2 — Alloy powder composition — Chilisin Electronics Corp. (Taiwan) — The present application relates to an alloy powder composition, a method for manufacturing a molding from the alloy powder composition, a molding obtained from the method, and an inductor comprising the molding. The alloy powder composition comprises an Fe-based amorphous alloy powder and an Fe-based crystalline alloy powder. It is an objective of the present invention to provide an alloy powder composition with stable high permeability and low core loss, a method for manufacturing a molding from the alloy powder composition and a molding obtained from the method, as well as an inductor with high inductance conversion efficiency.

US12534377B2 — Carbon-containing alumina powder — Denka Company Limited (Japan) — In recent years, with the progress of miniaturization and high functionality of a heat-generating electronic component, the amount of heat generated by an electronic device mounted with an electronic component has increased, and an efficient heat dissipation method has yet to be developed. The quality of heat dissipation in a resin composition after forming and processing, greatly depends on the thermal conductivity of the resin composition and the close adhesion to an adherend after forming and processing. The present inventors have found that by using a carbon-containing alumina powder including a specific carbon-containing alumina particle, when a resin is filled therewith, an increase in viscosity can be suppressed, high thermal conductivity of a resin composition including the resin can be realized, and the close adhesion of the resin composition to an adherend can be improved.
US12537143В2 — Aluminum oxide layer on anode foil for aluminum electrolytic capacitor — Pacesetter, Inc. (USA) — A method of producing a capacitor electrode includes forming an aluminum oxide layer on a foil. The method also includes heating the anode foil to a target temperature so as to induce defects in the oxide layer. The target temperature is about 450° Сelsius to 560° C and the duration of heating the foil to the target temperature is less than four minutes. The oxide layer is reformed so as to generate a reformed oxide layer that is an aluminum oxide with a boehmite phase and a pseudo-boehmite phase.

US12515962B2 — Reduction cell for producing aluminum — Aluminum Technologies, LLC (USA) — The present invention relates to a process for the manufacture of pure metal chlorides, and more particularly to a process for manufacturing pure aluminum chloride (AICl3) from an alumina-containing feedstock. A carbo-chlorination process is disclosed for selectively producing AICl3 from an alumina-containing feedstock, and includes introducing the following into a fluidized bed reactor maintained at 600-700° C.: (a) dried and calcined feed stream comprising the alumina-containing feedstock and a carbon feed; (b) chlorinating agent; (c) selectivity agent; (d) dried air; and optionally (e) off-spec AICl3. The process further includes removing a vapor stream from the reactor, in which preferably about 75-80% of the alumina present in the reactor is converted to AICl₂; and also removing a solid raw pozzolan stream from the reactor, wherein about 90-99% of the silica present in the reactor remains unconverted and exits the reactor through the solid raw pozzolan stream. The vapor stream, comprising AICl, is purified to create an AICI3 product stream comprising preferably greater than about 99.99% AlCl₁. The raw pozzolan product is classified to remove coke and create a final pozzolan product having a strength activity index (SAI) in the range of 80-160, per ASTM 618.

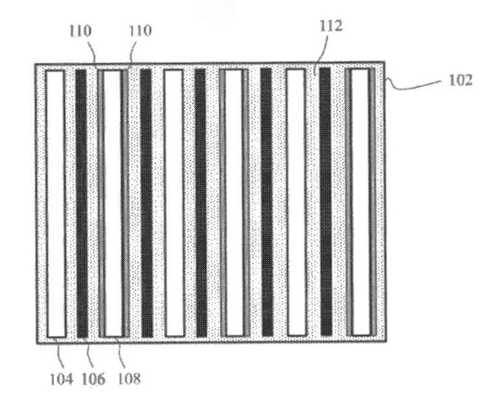
US12270117В2 — Process for manufacturing carbon anodes for aluminum production cells and carbon anodes obtained from the same — Université Laval (Canada) and Alcoa USA Corp. (USA) — The process for manufacturing a carbonaceous anode for an electrolysis cell for the production of aluminium, comprises contacting coke particles with a boron-containing solution to obtain boron-impregnated coke particles, mixing the boron-impregnated coke particles with coal tar pitch to form an anode paste, and forming a green anode with the anode paste. A carbonaceous anode for an electrolysis cell for the production of aluminium is also provided, which comprises at least a first fraction of coke particle, a second fraction of coke particles and coal tar pitch, wherein at least the first faction of coke particles comprises boron-impregnated coke particles, the boron-impregnated coke particles being distributed throughout the carbonaceous anode. The carbonaceous anode presents good resistivity towards air and CO, oxidation, which translates into less dusting of the anode, thus improving its integrity throughout its lifetime.

US12173419B2 — Apparatus and method for operating an electrolytic cell — Elysis Limited Partnership (Canada) — An apparatus, also named transfer box (TB), for conveying an anode assembly outside of an electrolyte cell is described. An apparatus, also named cell preheater lifting beam (CPLB), for conveying an anode assembly or a cell pre-heater outside of an electrolyte cell is also disclosed. TB and CPLB are conjointly used for starting up the electrolytic cell or for replacing a spent anode assembly while maintaining the production of non-ferrous metal, such as aluminum. The thermal insulation of the TB allows maintaining the anode temperature homogeneity and preventing thermal shocks when introducing the inert anodes into the hot electrolytic bath. TN and CPLB allow accurate positioning of anode assemblies or cell-preheaters over the electrolysis cell before achieving mechanical and electrical connections of the anode assembly or the cell pre-heater to the electrolysis cell.
US12366003B2 — Material components protection against the corrosive action cryolite melts in aluminum reduction cells — Ghislain Gonthier (Canada) — Aluminum reduction cells used in the Hall-Heroult process are lined with refractory materials underneath the carbon cathode blocks. Some elements contained in the molten electrolyte used in such cells can diffuse in the refractory materials and react therewith to reduce their effectiveness. This can shorten the useful lifetime of the cell in addition to forming toxic compounds. The refractory materials thus require decontamination before disposal. Against this background, there exists a need in the industry to protect the potlining refractory materials in aluminum reduction cells. There also exists a need in the industry to provide an inert anode. This invention describes an electrolytic cell comprising a protective layer comprising elemental copper covering at least in part or all of a refractory material assembly covering an interior surface thereof.

US12398442B2 — Processing methods and processing apparatus — Altek Europe Limited (Great Britain) — Furnaces handling molten aluminium are provided with a salt barrier on top of the molten metal to reduce oxidization and/or promote the removal of contaminants from the molten metal. The salt barrier effectively becomes part of the slag as a result of the process, after which it is commonly referred to as a salt slag. There are advantages in processing this material once removed from the furnace. The advantages include the recovery and reuse of one or more of the components and/or a reduction in the hazards the slag presents. Existing approaches tend to use centralized processing plants to take the cold slag and reprocess it. This causes transport issues in terms of cost and transport footprint and has a negative impact upon the subsequent processing and products. This invention has amongst its aims to facilitate processing of the slags, economically, at the same site where it is produced.

US12365954В2 — System for processing red mud and method of processing red mud — Red Mud Enterprises LLC (USA) — This invention provides a method of processing red mud which does not require addition of chemicals to the red mud in order to extract and recover aluminum, iron and titanium metals from it. The present invention accomplishes recovery of these metals in high percentages, e.g., above 90% recovery, by using physical extraction and without chemically processing the red mud by adding further chemicals to react red mud components. The method of the present invention is not complex and is adapted for processing large amounts of red mud to produce environmentally safe components, thus rendering red mud a non-hazardous material.

US12305245B2 — Electrolytic smelting system — Mitsubishi Heavy Industries, Ltd. (Japan) — In the electrolytic smelting method, oxygen is generated on the anode substrate side as the electrolytic reaction progresses. In a case where the oxygen concentration (oxygen potential) becomes excessively high or low, impurities may dissolve in pure iron. Therefore, there is an increasing demand for a system capable of performing electrolytic smelting with even higher purity by maintaining an appropriate oxygen potential. The present invention has been made to solve the above-described problems and an objective is to provide an electrolytic smelting system capable of performing highly pure electrolytic smelting and controlling an oxygen potential in order to prevent corrosion of electrodes.
US12492453B2 — High-performance AI-Zn-Mg-Zr base aluminum alloys for welding and additive manufacturing — NanoAL LLC (USA) — Aluminum-zinc-magnesium base alloys that comprise a transition metal and/or a rare earth metal are provided. The disclosed aluminum alloys are suitable for use in additive manufacturing and welding processes due to their mechanical properties and thermal stability. Methods for producing the disclosed alloys, as well as methods of manufacturing aluminum alloy components, are also provided. The embodiments described relate to a 7000-series aluminum alloy. The alloy, which may further include an inoculant (Sn, In, or Sb), can be fabricated into a feedstock (i.e., sheet, wire, powder, etc.) suitable for use in a manufacturing method, which may utilize welding, an additive manufacturing method which utilizes a wire or powder as feedstock, or a powder metallurgy method. The alloy is found to possess a strength-to-weight ratio at room temperature, which is at least as great as that of a conventional 7000-series aluminum alloy.

CN119413751B — Method and system for rapidly detecting aluminum content in bauxite based on near infrared spectrum — China University of Mining and Technology Beijing (China) — The invention aims to meet the requirements of the fields of earth science, resource exploration, artificial intelligence and the like. The traditional bauxite Al2O3 detection method has high costs, expensive instruments and low efficiency, and limits the application of the method in the fields of scientific research, industry and management. Aiming at the problems, the method establishes a sample database by utilizing the acquired near infrared spectrum data of the bauxite and the standard value of the sample corresponding to the Al2O3, and constructs and trains a deep learning model based on DenseNet and Roformer, so that the deep learning model is suitable for capturing the nonlinear relation between the spectrum of the bauxite and the content of Al2O3 of the spectrum of the bauxite, and can simply and efficiently realize the rapid detection and analysis of the Al2O3 of the bauxite.
CN119979900B — A device for melting and removing impurities from raw materials for aluminum rod production — Guangxi Jinde Renewable Resources Co., Ltd. (China) — The invention provides an aluminum bar production raw material melting impurity removing device, which belongs to the technical field of aluminum bar production. It comprises a box body with an upper opening, wherein a connecting frame is fixedly arranged in the box body, the bottom of the connecting frame is rotationally connected with a stirring shaft, and stirring plates are arranged on the stirring shaft in an array mode along the axis direction, used for stirring aluminum liquid in the box body. The aluminum liquid is placed in the box body and a driving mechanism drives the stirring plates to rotate. The stirring plates stir the aluminum liquid, and impurities in the aluminum liquid can float on the surface of the aluminum liquid to form suspended matters. At this point, a filtering chamber sufficiently filters the aluminum liquid, while a scraping plate removes the suspended matters on the surface of the aluminum liquid.
CN120776157B — A method for low-carbon, low-cost, and safe production of 4343 alloy billets — Luoyang Longding Aluminum Co., Ltd. (China) — The invention belongs to the technical field of aluminum alloy production, and discloses a method for safely producing 4343 alloy blanks with low carbon and low cost. In this method, the raw materials are weighed according to a certain proportion, an aluminum melt obtained by smelting in a smelting furnace is subjected to refining and online degassing and filtering, and the 4343 alloy blanks are produced by a continuous casting and rolling method. The finished product has small cracking edges and less segregation of internal components of the materials. In addition, the subsequent processing and use are convenient, as the raw materials can be used for recycling aluminum in a large proportion, and the aim of low carbon and consumption reduction is fulfilled.
CN120796786B — Heat-resistant aluminum alloy material and preparation method — Changsha Zhongyuan and Ningbo Zhongyuan New Material Technology Co., Ltd. (China) — The invention aims to provide a heat-resistant aluminum alloy material and a preparation method thereof, which are used for solving the problems that the traditional aluminum alloy material is easy to generate hot cracks or macroscopic cracks when being used for additive manufacturing and molding, and the mechanical property of a molded product is poor. By optimizing the process conditions of the aluminum alloy powder raw material proportion, the powder raw material preparation method, the aluminum alloy material preparation method and the like, the aluminum alloy powder raw material can be matched with the additive manufacturing requirement at 300-400 ℃ to prepare the aluminum alloy with no cracks and excellent high-temperature mechanical properties.
CN120864872B — A method for preparing large-size alumina ceramic balls — Jingdezhen Betterwear New Materials Co., Ltd. (China) — The application covers a preparation method of a high-wear-resistance, high-strength and large-specification alumina ceramic ball. Previous technical proposals use silicon nitride as a main raw material, however, aluminum oxide has a lower production cost and greater toughness. These high-performance ceramic balls have a diameter of 20-100 mm, compressive strength of more than 250MPa and the apparent porosity of less than 0.1 percent. The application can improve the wear resistance, strength and microstructure uniformity of the large-sized alumina ceramic ball and meet the application requirements of high-end industry.
CN120618163B — VOCs tail gas treatment with high efficiency recovery — Xi’an Ziguang Environmental Protection Technology Co., Ltd. (China) — The application relates to gas recovery treatment, and discloses a VOCs tail gas treatment method for efficient recovery, which comprises steps in preprocessing VOCs tail gas to obtain impurity-removed gas. The impurity-removing gas is subjected to enrichment adsorption by using a core-shell adsorbent to obtain a loaded VOCs adsorbent; the core-shell adsorbent has a core-shell composite structure. A core layer is formed by taking Ce-Ti-Mg-Al-Ox composite oxide and ZSM-5 molecular sieve as raw materials, and a shell layer is formed by taking SiO2, znO and graphite-rice hull composite particles as raw materials. The loaded VOCs adsorbent is subjected to desorption, separation and purification to obtain high-concentration VOCs. This solves the problem of narrow application range of a single adsorbent through the core-shell adsorbent, gains comprehensive adsorption, reduces “missed adsorption,” and makes more efficient the recovery of VOCs.
CN120717495B — A method to improve the economics of alumina production via the Bayer process — Chalco Shandong Co., Ltd. (China) — This method for improving the economic efficiency of alumina production via the Bayer process, comprises: 1) Adding a first-stage blending solution and a sodium aluminate solution to bauxite, followed by sequential crushing and wet milling for first-stage leaching to obtain a leached slurry; 2) Diluting the leached slurry with red mud washing liquid to obtain a diluted slurry; 3) Subjecting the diluted slurry to a first solid-liquid separation to obtain a refined liquid and a first-stage red mud; 4) Subjecting the refined liquid to seed crystal decomposition to crystallize aluminum hydroxide; 5) Adding a second-stage blending solution to the first-stage red mud, followed by a second-stage leaching and a second solid-liquid separation to obtain a second-stage leaching solution and a second-stage red mud, wherein the second-stage leaching solution is a high-concentration sodium aluminate solution and is recycled back to the first-stage leaching step; 6) Washing the second-stage red mud to obtain solid red mud and the red mud washing liquid. This application, through a segmented leaching process design, can balance the contradiction between alumina leaching rate and seed crystal decomposition rate, while reducing system aluminum loss, thereby improving the overall economic efficiency of alumina production via the Bayer process.
CN120864844B — Full-solid waste carbon-negative porous brick, and its preparation method — Hunan University (China) — Today, red mud is taken as high-alkalinity solid waste generated in the alumina production process. This invention discloses a full solid waste carbon-negative porous brick and its preparation method, and belongs to the field of solid waste recycling and CO2 capturing-sealing-utilizing green building materials. It relates to a method for preparing a full-national waste porous brick with a carbon-negative characteristic by constructing a multi-level pore structure by using red mud, steel slag and recycled aggregate as the main raw materials. It does this through low-water-gel ratio semi-dry compression molding and performing directional carbonization maintenance under the condition of normal temperature and micro pressure, by using cement kiln tail gas CO2. The method can realize high solid waste mixing, high-efficiency solid storage of CO2 and improved product performance.
CN120472330B — Red mud space extraction method combined with prompt learning of double-branch network model — Jingshi Tianqi Beijing Technology Co., Ltd. (China) — Red mud is a solid waste generated in the aluminum production process, and because the red mud generally contains alkaline substances and heavy metal elements, it possibly poses serious threat to the environment and human health, so red mud distribution and stock supervision become very important. The invention aims to solve the problems of red mud information identification precision and efficiency of remote sensing images, and provides a red mud space extraction method combining prompt learning of a double-branch network model. It uses POI semantic information and spectral index as prompt information for the scene classification branch to enhance the feature description capability of the red mud target, and at the same time uses the heat map generated by the scene classification branch as prompt information to assist the semantic segmentation branch processing, thereby solving the problem of difficult red mud identification and improving the extraction efficiency and accuracy of red mud distribution information.
CN120562655B — Aluminum output prediction method based on aluminum electrolysis cell production process data — Guizhou University and Zunyi Aluminum Co., Ltd. (China) — The invention relates to the field of industrial data mining, in particular to an aluminum output prediction method based on aluminum electrolysis cell production process data. The method comprises: 1) Collecting production process data of an electrolytic cell, preprocessing the production process data, and marking key features; 2) Inputting the production process data into a training prediction model according to the pre-trained prediction model, and outputting predicted aluminum quantity and predicted aluminum time; 3) Optimizing the prediction model according to a prediction result and an actual result, obtaining the predicted aluminum quantity and the predicted aluminum time of the prediction model, verifying the performance of the model by using core indexes, and judging whether the prediction model meets production stability and yield requirements according to each core index; and 4) Obtaining real-time production data, inputting the real-time production data into the prediction model, obtaining the predicted aluminum quantity and the predicted aluminum time in actual production, and generating a production scheduling strategy according to the predicted aluminum quantity, time and the region where the key features are located.
CN120536988B — A high-flexibility aluminum anode carbon block — Jinan Longshan Carbon Co., Ltd. (China) — This invention discloses a high-flexural-strength aluminum anode carbon block, its production method, and its production mold. It includes a carbon block and a spatial reinforcing rib structure. The spatial reinforcing rib structure is disposed inside the carbon block to enhance its strength. The spatial reinforcing rib structure includes a star-shaped spatial topology and a U-shaped cross-section optimized structure. The star-shaped spatial topology is alternately arranged inside the non-rounded edges of the carbon block. The U-shaped cross-section optimized structure is disposed at the rounded corners of the carbon block edges, cooperating with the star-shaped spatial topology. The benefits? It can obtain an anode carbon block with high resistance to force without affecting normal electrolysis, and at the same time, the block does not affect production efficiency. It can also ensure the strength of the block to adapt to the calcination, transportation, and electrolysis of the anode carbon block.
CN120346654B — A horizontal wet flue gas desulfurization system — Shenyang Boyu Technology and Shenyang Aluminium And Magnesium Engineering And Research Institute Co., Ltd. (China) — Today, flue gas desulfurization in the electrolytic aluminum industry adopts two mature technologies: a traditional limestone-gypsum wet desulfurization technology and a calcium hydroxide semi-dry desulfurization technology. Wet desulfurization is characterized by the efficient mass transfer of flue gas and desulfurization slurry. This invention provides a horizontal wet flue gas desulfurization system. The system includes a smoke inlet, a smoke outlet, and a desulfurization chamber in fluid communication with the smoke inlet and the smoke outlet, wherein the horizontal flow direction of the flue gas in the desulfurization chamber is defined as a first direction.
