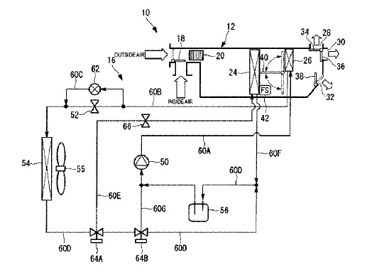
US10086677 — VEHICLE AIR CONDITIONING DEVICE, ELECTRIC COMPRESSOR, AND VEHICLE AIR CONDITIONING METHOD — Mitsubishi Heavy Industries Automotive Thermal Systems Co., Ltd. and Mitsubishi Heavy Industries Thermal Systems, Ltd. (Japan) — The present invention relates to a vehicle air conditioning device, an electric compressor, and a method of air conditioning a vehicle, in particular an electric vehicle (EV) or hybrid electric vehicle (HEV). An aluminum case houses the power element 70 and the control circuit board 74. A refrigerant heating performance is increased while suppressing an increase in weight or cost. A vehicle air-conditioning device (10) is provided with a heat pump cycle (16) for heating operation in which an electric compressor (50) for compressing refrigerant, a vehicle-cabin-interior condenser (26), a throttle (52), and a vehicle-cabin-exterior heat exchanger (54) are connected in that order via refrigerant piping. An inverter for the electric compressor (50) in which a power element comprising a highly heat-resistant semiconductor device is used is disposed on the electric compressor (50) so that the refrigerant compressed by the electric compressor (50) can be heated by the power element. During heating operation of the heat pump cycle (16), the refrigerant is heated by the power element.

US10086429 — CHILLED-ZONE MICROSTRUCTURES FOR CAST PARTS MADE WITH LIGHTWEIGHT METAL ALLOYS — GM Global Technology Operations LLC (USA) — Methods for casting high strength, high ductility lightweight metal components of aluminum and magnesium alloys are provided. The casting may be die-casting. A molten lightweight metal alloy is introduced into a cavity of a mold. The molten lightweight metal alloy is solidified and then a solid component is removed from the mold. The solid component is designed to have a thin wall. For example, the solid component has at least one dimension of less than or equal to about 2 mm. In this way, a chill zone microstructure is formed that extends across the at least one dimension of the solid lightweight metal alloy component. The solid component thus may be substantially free of dendritic microstructure formation, enabling more extensive alloy chemistries than previously possible during casting. Such methods may be used to form high strength, high ductility, and lightweight metal alloy vehicle components.

US10086422 — VALUE STREAM PROCESS FOR FORMING VEHICLE RAILS FROM EXTRUDED ALUMINUM TUBES — Ford Global Technologies, LLC (USA) — A value stream process or method for forming vehicle rails from extruded aluminum tubes includes the steps of extruding an aluminum tube and hydroforming the extruded aluminum tube into a vehicle rail. More specifically, the method includes extruding the aluminum tube, bending the aluminum tube, preforming the aluminum tube, hydroforming the aluminum tube into a vehicle rail, trimming the vehicle rail to length and then artificially aging the rail followed by batch chemical pretreatment. In an alternative embodiment the artificial aging and batch chemical pretreatment processes are performed in reverse order. In either of the embodiments, localized induction annealing to recover formability may be performed between bending and preforming, between preforming and hydroforming or both.

US10084310 — LOW-INDUCTANCE DIRECT CURRENT POWER BUS — National Technology & Engineering Solutions of Sandia, LLC (USA) — The invention relates to power systems for electric vehicles, hybrid electric vehicles, solar photovoltaic power converters, and the like. A DC power bus having reduced parasitic inductance and higher tolerable operating temperature is disclosed. In example embodiments, a bus structure overlies a printed circuit board, and an array of capacitors is arranged on a surface of the printed circuit board distal the bus structure. The bus structure comprises an upper metal plate, a lower metal plate, and a dielectric film interposed between the upper and lower metal plates. The upper and lower metal plates of the bus structure are made of aluminum. The capacitors are connected in parallel between conductive planes of the printed circuit board. The upper and lower metal plates of the bus structure are connected to respective conductive planes of the printed circuit board.

US10073178 — PLACEMENT STRUCTURE FOR PERIPHERAL INFORMATION DETECTING SENSOR, AND SELF-DRIVING VEHICLE — A sensor placement structure has: a vehicle skeleton member of a vehicle, the vehicle skeleton member having a hollow cross-section; a peripheral information detecting sensor that is mounted to a vehicle outer side of the vehicle skeleton member, the peripheral information detecting sensor having a detecting section that detects information about a periphery of the vehicle; and a cover that covers the peripheral information detecting sensor from a vehicle outer side of the peripheral information detecting sensor, the cover being composed of a material that is transmissive of a detection medium that is detected by the detecting section.

US10072683 — AUTOMATIC TRANSMISSION PISTON WITH SUPPORTED SERVO PIN — Sonnax Transmission Company (USA) — In an automotive automatic transmission, such as an Aluminum Powerglide transmission, a force applying piston mounted on a servo pin is supported at both sides of the piston. A first end of the servo pin is conventionally supported in a servo pin bore. A second, extended end is supported in a specially configured support bore formed in the assembly cover. Eccentric loading and excessive wear of the servo pin and servo pin bore, which can result in damage to the piston, is reduced or eliminated thereby.

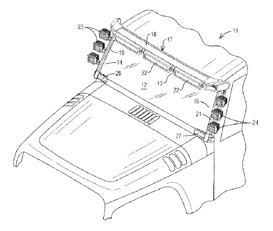
US10071673 — MODULAR LIGHT AND ACCESSORY BAR FOR VEHICLES — Omix-Ada, Inc. (USA) — This disclosure relates generally to automotive aftermarket products and more particularly to aftermarket products and accessories for vehicles driven by their owners in rugged off-road environments, commonly known as “off-road vehicles.” A modular light and accessory bar for a vehicle includes a top rail having a length selected to span a width of the vehicle along the top of the windshield, a right end, and a left end. A right-side pillar is configured to be attached to the top rail at the right end thereof and extend downwardly therefrom. A left side pillar is configured to be attached to the top rail at the left end thereof and extend downwardly therefrom. The top rail is formed with at least one T-slot that extends along the length of the top rail. At least one bracket is configured to support a lighting fixture or accessory and is attachable to the T-slot of the top rail at a desired location. The T-slot is configured to permit the at least one bracket to be slid to a desired location along the top rail and secured at that location. The top rail may be curved forwardly relative to the vehicle.

US10070514 — HIGH CURRENT SWITCH — Ellenberger & Poensgen GmbH (Germany) — A high current switch, in particular for a motor vehicle, having a first bus bar, a second bus bar in addition to a first semi-conductor switch that has a control connection and a first transmission connection as well as a second transmission connection. The first transmission connection is placed in direct contact with the first bus bar and the second transmission connection is placed in direct electric contact with the second bus bar. The bus bars are made of an electrically conductive material, for example, of copper or aluminum. Each of the bus bars is provided and designed to carry an electric current with a current of, for example, greater than 50 A, 100 A, 150 A, 200 A, 250 A and up to at least 300 A, 350 A, 400 A or 450 A, wherein the electrical voltage is suitably greater than or equal to 12 V, 24 V, 48 V, and expediently less than 60 V.

US10065682 — THIRTY-TWO-CORNERED STRENGTHENING MEMBER — Ford Global Technologies, LLC (USA) — A strengthening member for an automotive vehicle includes a thirty-two-cornered cross section having adjacent sides defining internal angles and external angles. Each of the internal angles and the external angles are at least 60 degrees and are less than 180 degrees. The sides define a plurality of lobes spaced about a perimeter of the strengthening member. Along the perimeter of the thirty-two-cornered cross section, individual lobes of the plurality of lobes are separated by at least two consecutive external angles. A strengthening member can comprise, for example, steel alloys, aluminum alloys, magnesium alloys, titanium alloys, nylons, plastics, polymers, fiber-reinforced composites, silicone, semiconductor, papers, hybrid materials (e.g., multiple dissimilar materials), shape-memory materials, forms, gels or any other suitable materials. Those of ordinary skill in the art would understand, for example, that the material used for a strengthening member may be chosen as desired based on intended application, strength/weight considerations, cost, and other design factors. A thirty-two-cornered cross section in accordance with the present disclosure is contemplated for use with a number of structural members such as a front rail, a side rail, a cross member, roof structures, shotguns, beltline tubes, door beams, pillars, internal reinforcements, and other components that can benefit from increased load carrying capacity, crash energy absorption, and bending resistance. In addition, the present teachings can be applied to both body-on-frame and unitized vehicles, or other types of structures.

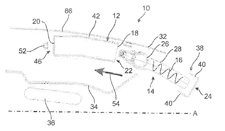
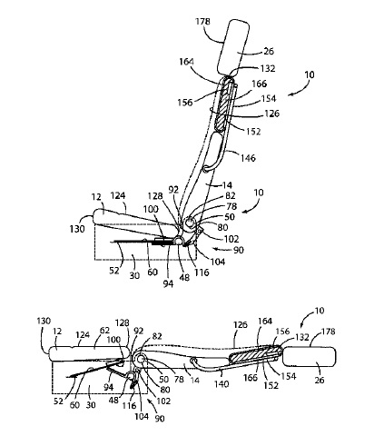
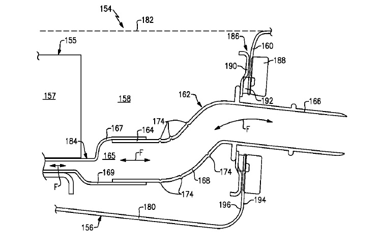
US10065591 — OCCUPANT RESTRAINING SYSTEM FOR A VEHICLE — TRW Automotive GmbH (Germany) — The invention relates to an occupant restraint system (10) for a vehicle comprising a roof cross member (12) which extends transversely to a longitudinal vehicle axis (A) and is part of a body of the vehicle, an airbag module (14) which includes an airbag (16) and in a non-actuated initial state is accommodated inside the roof cross member (12), wherein the roof cross member (12) has a front side (18) facing a front end of the vehicle and an opposite rear side (20) facing a rear end of the vehicle, and wherein the front side (18) or the rear side (20) of the roof cross member (12) includes a mounting opening (22) for receiving the airbag module (14).

US10065535 — SEATBACK LIFT MECHANISM FOR A SUPINE MOTOR VEHICLE SEATING ASSEMBLY — Ford Global Technologies, LLC (USA) — A motor vehicle comprises an upper back support comprising a substantially U-shaped tubular member pivotally attached at a first end to one of a pair of opposed lateral seatback frame members and pivotally attached at a second end to the other of the pair of opposed lateral seatback frame members, a substantially rigid planar base attached to a central portion of the tubular member, a latch operably coupling the first end of the tubular member to the one of a pair of opposed lateral seatback members to restrain the tubular member in one of a plurality of positions between a stowed position and a fully raised position, and a cushion disposed above the upper back support to form a movable exposed surface.

US10062936 — FLEX TUBING FOR VEHICLE ASSEMBLIES — Ford Global Technologies, LLC (USA) — Flex tubing for a vehicle assembly according to an exemplary aspect of the present disclosure includes, among other things, a tube body made of a metallic material such as aluminum, the tube body including a first rigid segment, a second rigid segment and a flexible segment extending between the first rigid segment and the second rigid segment.

US10062931 — WELDING PROCESS FOR BATTERY MODULE COMPONENTS — Johnson Controls Technology Company (USA) — The present disclosure relates to a battery module that includes a stack of battery cells disposed in a housing, where each battery cell of the stack of battery cells has a terminal, and a bus bar having a body and an indicator disposed on the body, where the bus bar is configured to couple a first terminal of a first battery cell of the stack of battery cells to a second terminal of a second battery cell of the stack of battery cells. The battery module also includes a sensing component disposed on the indicator and configured to monitor a condition of at least one battery cell of the stack of battery cells and a weld physically and electrically coupling the sensing component to the bus bar.

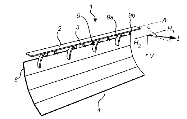
US10060593 — UNIVERSAL DAYTIME RUNNING LAMP FOR AUTOMOTIVE VEHICLES — Koninklijke Philips N.V. (Netherlands) — A daytime running lamp (1) for being retrofitted on a road vehicle, comprising a reflector (4) with a reflective surface (5) for reflecting light in a general direction (I) of illumination and a plurality of light sources (3) arranged in a pattern having an extension along a horizontal axis (A). The light emitted by the plurality of light sources (3) has directional components in two opposite horizontal directions (H1, H2) along the horizontal axis (A) and a directional component in a vertical direction (V) perpendicular to the horizontal axis (A). The reflective surface (5) has a curvature such that the directional component in the vertical direction (V) is directed towards the general direction (I) of illumination, and the directional component in at least one of the horizontal directions (H1, H2) upon reflection in the reflective surface (5) is substantially unchanged by the reflection.

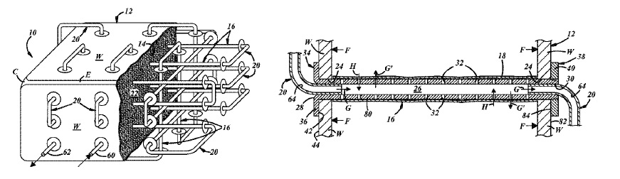
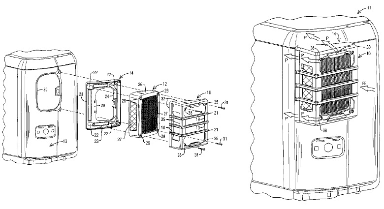
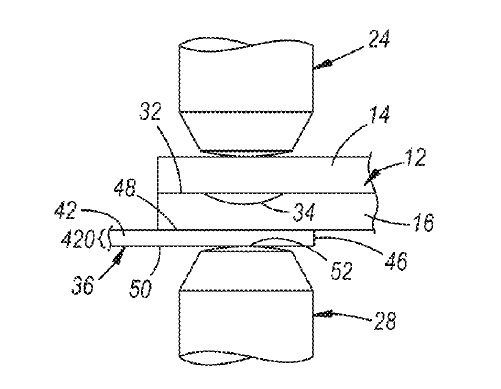
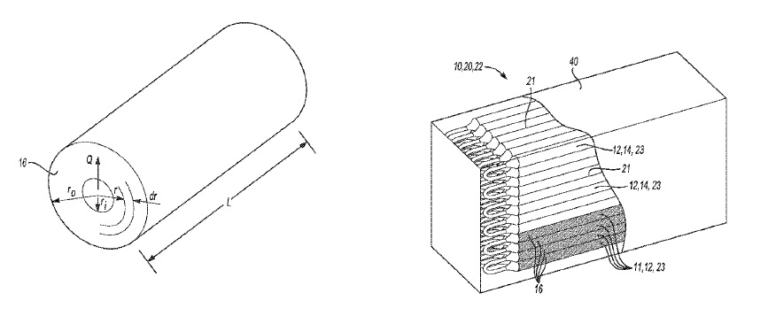
US10060577 — FUEL GAS STORAGE TANK WITH SUPPORTING FILTER TUBE(S) — Alternative Fuel Containers, LLC (USA) — A conformable fuel gas storage tank includes a shell, a fuel gas storage material, and one or more filter tube(s). The fuel gas can be natural gas or hydrogen gas. The shell defines an interior, and the fuel gas storage material is located within the interior. The filter tube permits fuel gas to diffuse out of filter tubes and into the interior of the tank and, additionally, supports the tank against outwardly-directed forces resulting from pressure within the interior of the shell. A number of materials can be used to make the shell 12 including a metal such as a stainless steel like SUS304 grade stainless steel or an aluminum alloy like AA5083-0 aluminum alloy.

US10059251 — FORCE-DIVERTING TAIL LIGHT GUARD — Omix-Ada, Inc. (USA) — This disclosure relates generally to automotive accessories, accessories for ruggedizing vehicles for off-road use, and particularly to guards for protecting tail lights of off-road vehicles such as Jeep RTM brand vehicles. A force-diverting tail light guard is disclosed for a vehicle having tail lights that project from the body of the vehicle with each tail light having a vehicle facing surface and a rear-facing surface joined by sides. The tail light guard has a base configured to be mounted against the body of the vehicle surrounding the tail light. The base may include a plate that at least partially covers the vehicle-facing surface of the tail light. A cage is configured to be mated to the base and at least partially covers at least the rear-facing surface of the tail light. The base and cage, when mated together around the tail light, at least partially surround the tail light. Attachment structures are disclosed for mounting the tail light guard to the body of the vehicle surrounding the tail light. The tail light guard is configured to divert external forces due to impact around the tail light and directly to the body of the vehicle to prevent impacts from breaking the tail light or rendering the tail light inoperable.

US10058949 — RESISTANCE SPOT WELDING STEEL AND ALUMINUM WORKPIECES USING INSERTABLE COVER — GM Global Technology Operations LLC (USA) — A method of resistance spot welding a steel workpiece and an aluminum or aluminum alloy workpiece together includes several steps. One step involves inserting a cover between the aluminum or aluminum alloy workpiece and an adjacent welding electrode. In another step, the adjacent welding electrode is pressed against cover, and another opposed welding electrode is pressed against the steel workpiece at a weld site. In yet another step, electrical current is passed between the welding electrodes, passed through the cover, and passed through the workpieces in order to initiate and grow a molten weld pool within the aluminum or aluminum alloy workpiece.

US10054267 — PRESSURE VESSEL ARRAY — GM Global Technology Operations LLC (USA) — An array of pressure vessels for storage of a compressed gas includes at least one Type 4 pressure vessel and at least one Type 1 pressure vessel. The Type 1 pressure vessel is in fluid communication with the at least one Type 4 pressure vessel. A metal wall of the at least one Type 1 pressure vessel has a Type 1 thermal conductance that is greater than a Type 4 thermal conductance of the at least one Type 4 pressure vessel.

US10054177 — DRUM BRAKE DEVICE AND METHOD OF ASSEMBLY — Autokinetics, Inc. (USA) — Method of assembling a drum brake device, wherein the inner portion comprises a stainless steel stamping and the outer rim comprises aluminum, includes positioning a portion of a brake shoe (22) support structure (40, 42) near an opening of a brake actuating cylinder (80); manipulating the support structure (40, 42) so that a window (44) of the support structure (40, 42) is received over a portion of a shoe mount (50); moving the support structure (40, 42) relative to the shoe mount (50) so that the portion of the support structure (40, 42) is received into the brake actuating cylinder (80) and the support structure (40, 42) is engaged by the shoe mount (50) in a manner that the shoe mount (50) restricts movement of the brake shoe (22) in two dimensions and allows selective movement in a third dimension; and securing the brake shoe (22) in an installed position by placing the drum (26) over the brake shoe (22) with the braking surface facing the friction lining.

US10054145 — CLEARANCE HOLE FOR SELF-PIERCING RIVET — Ford Global Technologies, LLC (USA) — In the case of aluminum intensive vehicles and other mixed metal joining applications, self-piercing rivet (SPR) technology prevails. One advantage of SPR technology is that it is a high production volume assembly process. Further, it is compatible with an adhesive, where both methods can be used in conjunction. Thus, a system for attaching layers of material together comprised of a self-piercing rivet, a layer having a clearance hole through which the self-piercing rivet passes on assembly, and a layer free of a clearance hole and into which the self-piercing rivet is at least partially inserted. The system may include a third layer free of a clearance hole. The system may also include three layers wherein the clearance hole is formed in the middle layer. If the clearance hole is formed in the middle layer, the width of the hole may be greater than the diameter of the self-piercing rivet to avoid contact between the rivet and the middle layer. The layer having the clearance hole may be a hard material such as steel. One or more of the layers may be a material that is difficult to pierce or can be damaged if pierced.

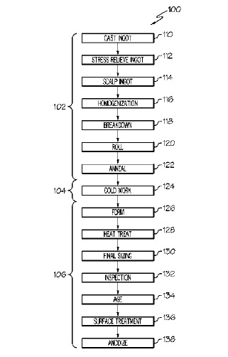
US10030294 — METHOD FOR MANUFACTURING ANODIZED ALUMINUM ALLOY PARTS WITHOUT SURFACE DISCOLORATION — The Boeing Company (USA) — A method for manufacturing a part including steps of providing an aluminum starting material, wherein the aluminum starting material is in an anneal temper, cold working the aluminum starting material to obtain an aluminum cold worked material, and forming the part from the aluminum cold worked material. It has now been discovered that the discoloration that occurs when forming a part from an aluminum alloy, such as 2219 aluminum alloy, may be reduced or eliminated by uniformly applying at least a minimum amount of cold work to the aluminum alloy prior to forming, rather than forming the part while the aluminum alloy is in the anneal (O) temper. Without being limited to any particular theory, it is believed that the discoloration occurs as a result of localized recrystallization due to non-uniform work/energy applied during anneal (O) temper forming. By uniformly applying cold work to the aluminum alloy prior to forming, uniform recrystallization of the grain may occur. Therefore, when the aluminum alloy is later subjected to a forming step, the entire part assumes the uniform color associated with recrystallization.

US10029624 — SHEET METAL MOLDING FOR MOTOR VEHICLES AND PROCESS FOR PRODUCING A SHEET METAL MOLDING FOR MOTOR VEHICLES — Benteler Automobiltechnik GmbH (Germany) — A motor vehicle sheet metal molding of the invention is produced by hot forming from a metal sheet composed of an aluminum alloy which cannot be precipitation hardened, which contains at least magnesium and optionally manganese in addition to aluminum as alloy component. The motor vehicle sheet metal molding after forming has, at least locally, degrees of deformation which are above the forming limit curve of the aluminum alloy at room temperature. To produce the motor vehicle sheet metal molding, the metal sheet is heated at least locally to a temperature in the range from 200°C to 400°C over a period of from 1 to 60 seconds. The heated metal sheet is subsequently placed in a forming tool of a forming press and formed to produce the motor vehicle sheet metal molding.
US10023943 — CASTING ALUMINUM ALLOY AND CASTING PRODUCED USING THE SAME — National University Corporation University of Toyama and Ahresty Corporation (Japan) — An object of the invention s to provide a casting aluminum alloy that exhibits excellent casting crack resistance while exhibiting the characteristics of an Al-Mg-Si-based aluminum alloy that exhibits high ductility and high strength in an as-cast state, and a casting produced using the same. An Al-Mg-Si-based aluminum alloy, wherein the Mg content is 3.0 to 7.0 mass % and the Si content is 2.0 to 3.5 mass %, includes 0.015 to 0.12 mass % of Sr, the aluminum alloy producing a cast metal structure in which Mg2Si is crystallized in a fine agglomerate form. Therefore, the casting aluminum alloy according to the invention can be widely used to produce a casting (cast product) that is used in the fields of mechanical parts, airplanes, vehicles, and the like for which these properties are required.

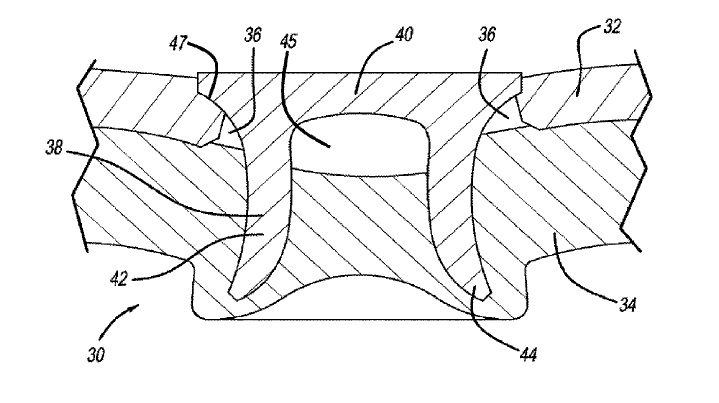
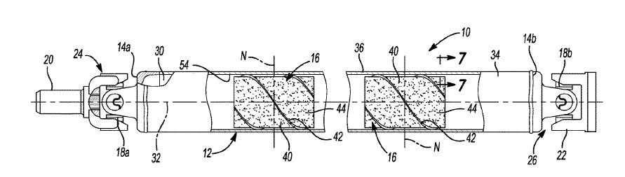
US10018244 — DAMPED PROPSHAFT ASSEMBLY AND TUNED DAMPER FOR A DAMPED PROPSHAFT ASSEMBLY — American Axle & Manufacturing, Inc. (USA) — A damped propshaft assembly with a hollow aluminum or steel shaft and a tuned damper, which is received in the hollow shaft and includes a liner and a damping member. The liner’s mass and stiffness are tuned to attenuate one or more of a bending mode vibration and a torsion mode vibration that occurs at a first predetermined frequency. The liner is not configured to substantially damp shell mode vibration that occurs at a frequency that is not equal to the first predetermined frequency. The damping member is coupled to the liner and is configured to primarily attenuate shell mode vibration in the hollow shaft at one or more desired frequencies. The tuned damper attenuates the at least one of the bending moment vibration and the torsion mode vibration at the first predetermined frequency and also attenuates shell mode vibration. A method for forming a damped propshaft assembly is also provided.

US10011200 — CHILD SAFETY SEAT — Clek Inc. (Canada) — A child safety seat includes a seat base assembly, a seat body assembly, and a sled assembly coupled to the seat base assembly and the seat body assembly. The sled assembly is configured to allow linear movement of the seat body assembly relative to the seat base assembly when the seat is exposed to impact forces, and includes a modular energy absorber configured to reduce the impact forces on an occupant of the seat body assembly. The energy absorbing member 120 may comprise an energy-absorbing material that is formed in a monolithic layered honeycomb-like structure. Preferably, the energy-absorbing material is aluminum, but may be any type of deformable material.

US10008710 — OVERCHARGE PROTECTION ASSEMBLY FOR A BATTERY MODULE — Johnson Controls Technology Company (USA) — A lithium-ion battery module has a housing and a plurality of lithium-ion battery cells disposed in the housing. Each of the plurality of lithium-ion battery cells includes a first terminal with a first polarity, a second terminal with a second polarity opposite to the first polarity, an overcharge protection assembly, and a casing electrically coupled to the first terminal such that the casing has the first polarity, where the casing has an electrically conductive material (aluminum or copper). The lithium-ion battery module also includes a vent of the overcharge protection assembly electrically coupled to the casing and a conductive component of the overcharge protection assembly electrically coupled to the second terminal, and the vent is configured to contact the conductive component to cause a short circuit and to vent a gas from the casing into the housing when a pressure in the casing reaches a threshold value.

