Share, , Google Plus, Pinterest,

Print

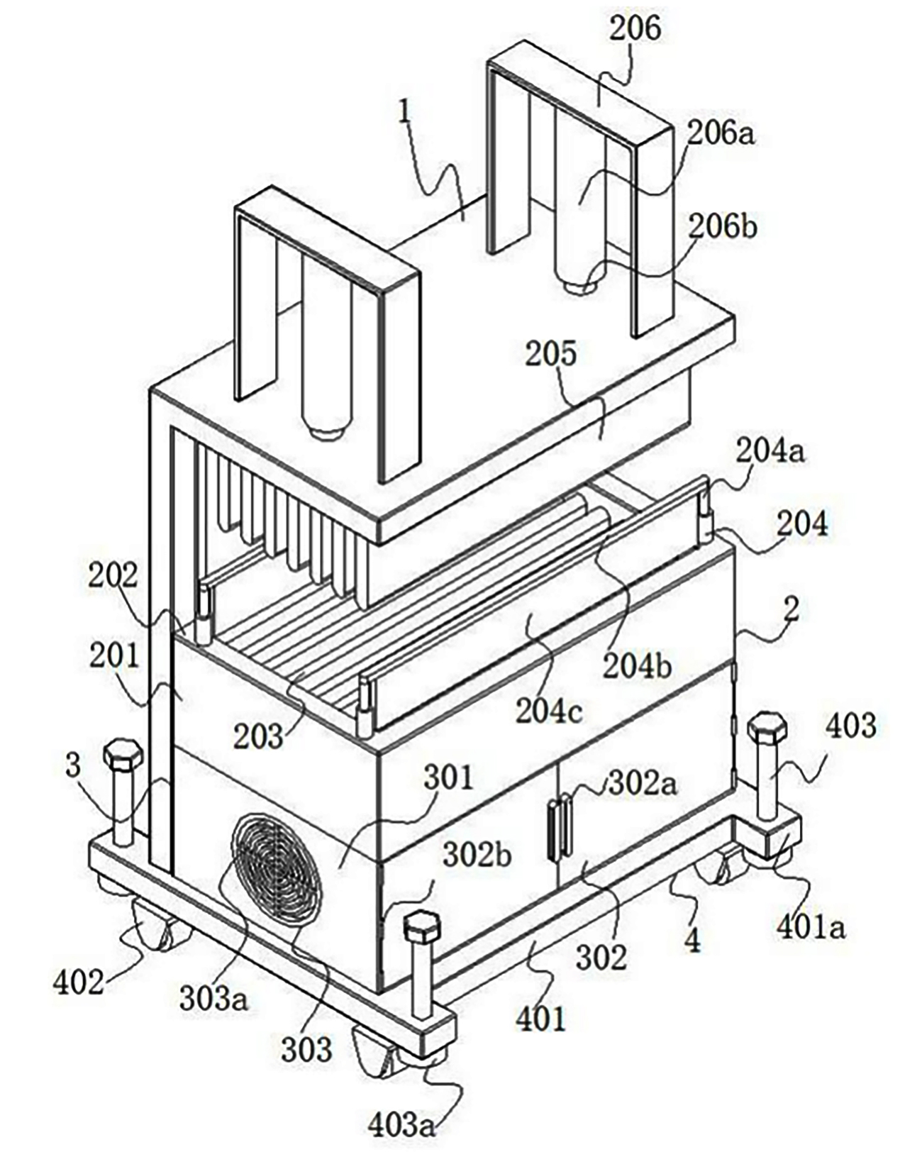
CN222094427U-High-speed forming machine for corrugated aluminum fins

Share, , Google Plus, Pinterest,

Leave a Reply

Your email address will not be published. Required fields are marked *